Dulimex | Insteekgrendel met sluitpot lengte 70 mm | Zilvergrijs
Dulimex | Insteekgrendel met sluitpot lengte 70 mm | Zilvergrijs
Voor 19:00 besteld, morgen in huis
Dulimex | Insteekgrendel met Sluitpot Lengte 70 mm | Zilvergrijs
De Dulimex | Insteekgrendel met Sluitpot Lengte 70 mm | Zilvergrijs is de ideale oplossing voor het extra vergrendelen van ramen en deuren, vooral wanneer je een deur "op de knip" wilt zetten. Dit product wordt veel gebruikt voor het vergrendelen van ramen en deuren die je van binnenuit moet kunnen bedienen, wat het uiterst geschikt maakt als aanvullende beveiliging voor een voor- of achterdeur of als hoofdvergrendeling voor een raam.
Kenmerken Dulimex | Insteekgrendel met Sluitpot Lengte 70 mm | Zilvergrijs:
• Toepassing: Deze insteekgrendel is geschikt voor zowel renovatie- als nieuwbouwprojecten, en kan worden gebruikt op naar binnen- of buitendraaiende ramen en deuren.
• Afwerking: De satijn verchroomde (zilvergrijze) afwerking past goed bij de meeste kozijnen, ramen en deuren.
• Veiligheid: Met deze insteekgrendel kun je je deur of raam extra vergrendelen, wat de inbraakveiligheid vergroot.
• Flexibiliteit: Het product is toepasbaar op zowel links- als rechtsdraaiende deuren en ramen.
• Eenvoudige installatie: Wordt geleverd met sluitpot en bevestigingsmateriaal voor eenvoudige installatie.
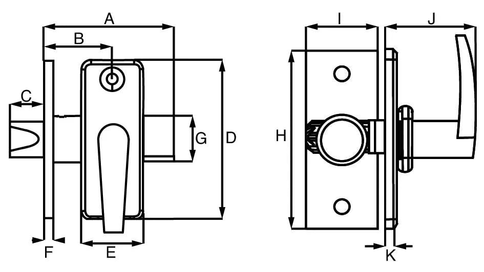
Specificaties Dulimex | Insteekgrendel met Sluitpot Lengte 70 mm | Zilvergrijs:
• Afmetingen:
- A: 70 mm
- B: 50 mm
- C: 12 mm
- D x E: 65 x 22 mm
- G: 17 mm
- K: 3,5 mm
• Materiaal: Staal met zilvergrijze afwerking
• Kleur: Zilvergrijs
Wat ontvang je bij aankoop?:
• 1x Insteekgrendel met sluitpot
• 1x Bevestigingsmateriaal
Onderhoudsinstructies en tips Dulimex | Insteekgrendel met sluitpot lengte 70 mm | Zilvergrijs:
• Reiniging: Maak de insteekgrendel af en toe schoon met een zachte doek om vuil te verwijderen en te zorgen voor een soepel gebruik.
• Smering: Gebruik een smeermiddel om ervoor te zorgen dat het mechanisme soepel blijft werken.
• Installatie: Zorg ervoor dat de inkeping in het kozijn correct is geboord voor de sluitpot, zodat de schoot goed kan vergrendelen.
Verhoog de veiligheid van je ramen en deuren met de Dulimex | Insteekgrendel met Sluitpot Lengte 70 mm | Zilvergrijs!
Wil je meer weten over deurbeslag? Bezoek dan onze uitgebreide online kennisbank voor alles over de verschillende soorten deurbeslag, installatie- en onderhoudstips, en deskundig advies.
Over het merk Dulimex
Dulimex B.V., opgericht in 1982, is een internationale handelsonderneming die zich richt op ijzerwaren, bouwbeslag en hang- en sluitwerk. Het bedrijf levert vanuit een magazijn in Vaassen meer dan 4.000 artikelen en biedt zowel eigen merkproducten (DX®) als distributeurschappen van Europese merken zoals Briton en SOSS.
Dulimex staat bekend om zijn kwaliteitsproducten tegen scherpe prijzen, waarbij constante kwaliteit wordt gewaarborgd door strikte controles tijdens productie en levering. Naast het productaanbod biedt Dulimex ook uitgebreide montage-instructies en een montageservice aan voor klanten.
Met een breed assortiment van deurvastzetters, scharnieren, magneetsnappers en meer, is Dulimex een betrouwbare keuze voor al je hang- en sluitwerkbehoeften.
Vraag vandaag nog professioneel advies op maat en vind de perfecte oplossing voor jouw project!
| Geleverd per | Stuk |
| Merk | Dulimex |
| EAN | 8714140159840 |
| Geschikt voor | Aanvullende beveiliging voor ramen en buitendeuren |
| Materiaal | Zamac |
| Finish/kleur | Satijn Verchroomd |
| Geleverd per | Stuk |
| Incl. bevestigingsmateriaal | Ja |
Gratis verzending
Bij Deurbeslag-expert hanteren we altijd een minimaal bestedingsbedrag om gratis verzending te komen. Hieronder vind je meer informatie per land.
| Land | Standaard verzendkosten | Gratis verzending |
|---|---|---|
| Nederland | €4,95 | > €99 |
| België | €6,95 | > €99 |
De bezorgdienst
Wij verzenden al onze bestellingen via Groenbezorgen, ofwel fietskoeriers. Dit houdt in dat alle bestellingen bij ons op de fiets worden afgehaald en waar mogelijk ook op die fiets bezorgd worden. Let op, indien jouw woonplaats niet binnen de regio van Groenbezorgen valt besteden zij het transport uit aan DHL.
Retourneren
Mocht het nodig zijn, dan kun je jouw bestelling altijd retourneren.
Je hebt het recht jouw bestelling tot 30 dagen na ontvangst terug te sturen – dit is langer dan de wettelijke termijn van 14 dagen! Je krijgt dan het volledige orderbedrag inclusief verzendkosten gecrediteerd (let op, alleen wanneer de gehele bestelling wordt teruggestuurd). Enkel de kosten voor retour van jou thuis naar Deurbeslag Expert zijn voor eigen rekening (€6,95).
Indien je gebruik maakt van het herroepingsrecht, zal het product met alle geleverde toebehoren – indien redelijkerwijs mogelijk – in de originele staat en verpakking aan Deurbeslag Expert geretourneerd worden. Vermeld daarnaast duidelijk je order nummer en jouw gegevens, zodat we het makkelijk en snel kunnen verwerken. Indien deze gegevens ontbreken kan het proces vertraagd worden en bij het ontbreken van bepaalde gegevens kunnen we een retour order niet verwerken. Om gebruik te maken van dit recht dien je jouw retour aan te melden door het onderstaande formulier in te vullen:
Wij zullen vervolgens het verschuldigde orderbedrag binnen 14 dagen na ontvangst van de producten jouw retour terugstorten mits het product reeds in goede staat retour ontvangen is. Doorgaans staat het bedrag vervolgens binnen drie werkdagen terug op jouw rekening (deze drie dagen kunnen dus nog bovenop de 14 dagen komen).
Altijd klaar om u te helpen
Wij helpen je graag met jouw vraag of probleem. Met onze ervaring weten wij precies wat het beste is voor jouw situatie en kunnen wij je voorzien van persoonlijk en passend advies. Wij reageren zo snel mogelijk, contact opnemen kan via onderstaand formulier of via onze contactpagina.
Hoe kan je een bestelling retourneren?
Hoe kan je een bestelling retourneren?
Nou, dat is erg makkelijk. Dit doe je door de retour gemakkelijk online aan te melden. Hoe je een bestelling retourneert lees je bij retourneren.
Wat is de levertijd?
Wat is de levertijd?
Indien alle artikelen voorradig zijn verzenden wij de bestelling dezelfde dag nog als deze voor 19:00 geplaatst is.
Indien het artikel niet voorradig is vindt je de levertijd bij het artikel zelf.
Bij uitzonderingen informeren wij u altijd tijdig per mail.
Wat zijn de verzendkosten?
Wat zijn de verzendkosten?
Voor bestellingen binnen Nederland boven € 99 rekenen wij geen verzendkosten, deze worden gratis verzonden. Voor bestellingen onder de € 99 brengen wij € 4,95 in rekening. Voor bestellingen naar België en Duitsland rekenen wij €6,95 en verzenden wij gratis voor bestellingen vanaf €99. Kijk voor meer informatie over onze tarieven en verzendmethodes de pagina verzenden.
Hoe bestel je een product?
Hoe bestel je een product?
Alles over het bestellen van een product lees je bij bestellen.
Hoe verzilver je een kortingsbon of code?
Hoe verzilver je een kortingsbon of code?
Een kortingsbon/code kun je eenvoudig verzilveren bij je winkelmandje.
Kan ik langskomen in de showroom?
Kan ik langskomen in de showroom?
Het is voor iedereen mogelijk om langs te komen in onze showroom voor advies m.b.t. jouw deurbeslag. Zie hier meer informatie betreft onze openingstijden.
Wil je een specifiek artikel komen bekijken? Dan raden we altijd even aan om vooraf contact op te nemen.
Productvragen
Productvragen
Voor alle product gerelateerde vragen verwijzen we je door naar onze kennisbank, hier is alle informatie te vinden over maatvoeringen, montage, materiaalsoorten en de verschillende producten. Mocht je toch nog andere vragen hebben raden we je aan contact met ons op te nemen. Wij helpen je uiteraard graag verder.
Kan ik zakelijk bestellen?
Kan ik zakelijk bestellen?
Het is ook mogelijk om zakelijk op factuur te bestellen.
Daarnaast bieden we extra kortingen aan voor bijvoorbeeld Timmerlieden, Aannemers en interieurbouwers. Je kunt je hier aanmelden om zakelijk klant te worden.

