DX - Raamuitzetter wegdraaibaar kort SKG**® RVS zwart
DX - Raamuitzetter wegdraaibaar kort SKG**® RVS zwart
Deze Dulimex DX Raamuitzetter Wegdraaibaar Kort verhoogt uw veiligheid.
Veel inbrekers komen binnen via het bovenlicht: het kleine raampje boven een raam of deur. Een barrièrestang vertraagt de inbreker, maar kan inbraak niet volledig voorkomen. Vaak staat het bovenlicht op een kier of is het op een heel eenvoudige manier vergrendeld. Voor inbrekers is het dan vrij gemakkelijk het bovenlicht te forceren en te openen, vooral als een kliko of ladder in de buurt is waar ze op kunnen staan. Via het bovenlicht kan de deur of het raam worden geopend wanneer de sleutel nog in het slot zit.
Oplossing?
Beveilig het bovenlicht met een DX raamuitzetter wegdraaibaar kort SKG** en sluit altijd jouw ramen en deuren wanneer je de deur uit gaat!
Voor meer informatie over inbraakbeveiliging en PKVW zie tabblad "Politie Keurmerk Veilig Wonen (PKVW)"
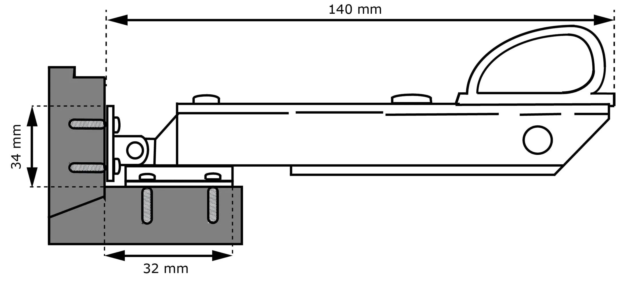
Toepassingsadvies
De minimaal benodigde openingsruimte van deze raamuitzetter wegdraaibaar kort SKG** is slechts 135 mm. Daarmee is dit model meteen de kortste raamuitzetter wegdraaibaar verkrijgbaar in de markt. Een bijkomend voordeel van dit korte model is dat de raamuitzetter ook in combinatie met een barrièrestang perfect toegepast kan worden. Daarnaast is de raamuitzetter toepasbaar op smalle kozijnen vanaf 32 mm kozijnhoutdiepte
Bij een raambreedte vanaf 1 meter wordt geadviseerd om twee DX raamuitzetters wegdraaibaar SKG** toe te passen.
Voor de overbrugging van een tochtstrip of tochtkader zijn er onderlegplaatjes verkrijgbaar (zie tabblad accessoires).
Technische info
De DX raamuitzetter wegdraaibaar Kort SKG** is gemaakt van RVS en zamac onderdelen. De montagevoetjes en body zijn van RVS gemaakt en het handvat is van kunststof. Het beslag is verkrijgbaar in de kleuren wit-wit, RVS-hamerslag antraciet en zwart-zwart.
Doordat de raamuitzetters (type RUZ) deel uit maken van ons programma raam- & deurbeslag van o.a. raamboompjes (type RBM) en oplegraamsloten (type SLS), zijn design, materiaal, kleur en finish perfect op elkaar afgestemd. Kortom: Eén sluitende oplossing voor jouw raam- en deurkozijnen.
| Merk | Dulimex |
| Geleverd per | Per stuk |
| Finish/kleur | Zwart |
| Geschikt voor | Het openzetten van een raam |
| Geleverd per | Per stuk |
Gratis verzending
Bij Deurbeslag-expert hanteren we altijd een minimaal bestedingsbedrag om gratis verzending te komen. Hieronder vind je meer informatie per land.
| Land | Standaard verzendkosten | Gratis verzending |
|---|---|---|
| Nederland | €4,95 | > €99 |
| België | €6,95 | > €99 |
De bezorgdienst
Wij verzenden al onze bestellingen via Groenbezorgen, ofwel fietskoeriers. Dit houdt in dat alle bestellingen bij ons op de fiets worden afgehaald en waar mogelijk ook op die fiets bezorgd worden. Let op, indien jouw woonplaats niet binnen de regio van Groenbezorgen valt besteden zij het transport uit aan DHL.
Retourneren
Mocht het nodig zijn, dan kun je jouw bestelling altijd retourneren.
Je hebt het recht jouw bestelling tot 30 dagen na ontvangst terug te sturen – dit is langer dan de wettelijke termijn van 14 dagen! Je krijgt dan het volledige orderbedrag inclusief verzendkosten gecrediteerd (let op, alleen wanneer de gehele bestelling wordt teruggestuurd). Enkel de kosten voor retour van jou thuis naar Deurbeslag Expert zijn voor eigen rekening (€6,95).
Indien je gebruik maakt van het herroepingsrecht, zal het product met alle geleverde toebehoren – indien redelijkerwijs mogelijk – in de originele staat en verpakking aan Deurbeslag Expert geretourneerd worden. Vermeld daarnaast duidelijk je order nummer en jouw gegevens, zodat we het makkelijk en snel kunnen verwerken. Indien deze gegevens ontbreken kan het proces vertraagd worden en bij het ontbreken van bepaalde gegevens kunnen we een retour order niet verwerken. Om gebruik te maken van dit recht dien je jouw retour aan te melden door het onderstaande formulier in te vullen:
Wij zullen vervolgens het verschuldigde orderbedrag binnen 14 dagen na ontvangst van de producten jouw retour terugstorten mits het product reeds in goede staat retour ontvangen is. Doorgaans staat het bedrag vervolgens binnen drie werkdagen terug op jouw rekening (deze drie dagen kunnen dus nog bovenop de 14 dagen komen).
Altijd klaar om u te helpen
Wij helpen je graag met jouw vraag of probleem. Met onze ervaring weten wij precies wat het beste is voor jouw situatie en kunnen wij je voorzien van persoonlijk en passend advies. Wij reageren zo snel mogelijk, contact opnemen kan via onderstaand formulier of via onze contactpagina.
Hoe kan je een bestelling retourneren?
Hoe kan je een bestelling retourneren?
Nou, dat is erg makkelijk. Dit doe je door de retour gemakkelijk online aan te melden. Hoe je een bestelling retourneert lees je bij retourneren.
Wat is de levertijd?
Wat is de levertijd?
Indien alle artikelen voorradig zijn verzenden wij de bestelling dezelfde dag nog als deze voor 19:00 geplaatst is.
Indien het artikel niet voorradig is vindt je de levertijd bij het artikel zelf.
Bij uitzonderingen informeren wij u altijd tijdig per mail.
Wat zijn de verzendkosten?
Wat zijn de verzendkosten?
Voor bestellingen binnen Nederland boven € 99 rekenen wij geen verzendkosten, deze worden gratis verzonden. Voor bestellingen onder de € 99 brengen wij € 4,95 in rekening. Voor bestellingen naar België en Duitsland rekenen wij €6,95 en verzenden wij gratis voor bestellingen vanaf €99. Kijk voor meer informatie over onze tarieven en verzendmethodes de pagina verzenden.
Hoe bestel je een product?
Hoe bestel je een product?
Alles over het bestellen van een product lees je bij bestellen.
Hoe verzilver je een kortingsbon of code?
Hoe verzilver je een kortingsbon of code?
Een kortingsbon/code kun je eenvoudig verzilveren bij je winkelmandje.
Kan ik langskomen in de showroom?
Kan ik langskomen in de showroom?
Het is voor iedereen mogelijk om langs te komen in onze showroom voor advies m.b.t. jouw deurbeslag. Zie hier meer informatie betreft onze openingstijden.
Wil je een specifiek artikel komen bekijken? Dan raden we altijd even aan om vooraf contact op te nemen.
Productvragen
Productvragen
Voor alle product gerelateerde vragen verwijzen we je door naar onze kennisbank, hier is alle informatie te vinden over maatvoeringen, montage, materiaalsoorten en de verschillende producten. Mocht je toch nog andere vragen hebben raden we je aan contact met ons op te nemen. Wij helpen je uiteraard graag verder.
Kan ik zakelijk bestellen?
Kan ik zakelijk bestellen?
Het is ook mogelijk om zakelijk op factuur te bestellen.
Daarnaast bieden we extra kortingen aan voor bijvoorbeeld Timmerlieden, Aannemers en interieurbouwers. Je kunt je hier aanmelden om zakelijk klant te worden.

